高瓴、安进等巨头加持!首家“A+H+N”三地上市药企来了
6月28日,上交所发布科创板上市委2021年第43次审议会议结果公告,百济神州首发获通过。中金公司及高盛高华为联合保荐人。
公司此次科创板IPO拟募资200亿元,用于药物临床试验研发项目、研发中心建设项目、生产基地研发及产业化项目、营销网络建设项目以及补充流动资金。
2016年,百济神州在纳斯达克上市,2018年登陆香港联交所。此次公司科创板IPO获通过,意味着公司成为首家在纳斯达克、港交所与上交所三地上市的全球性生物科技公司。

来源:上交所网站
三个核心产品均为国内首创
百济神州成立于2010年,是一家全球性生物科技公司,专注于研究、开发、生产以及商业化创新型药物。
目前,公司商业化产品及临床阶段候选药物共有47款,包括8款商业化阶段药物、4款已申报候选药物和35款临床阶段候选药物。3款由百济神州自主研发的创新药物BTK小分子抑制剂百悦泽、抗PD-1单抗百泽安和PARP抑制剂百汇泽处于商业化阶段。
其中,百悦泽于2019年11月获得美国食品和药品监督管理局(FDA)加速批准上市,成为我国首个在美获批上市的中国本土自主研发抗癌新药,改写了中国抗癌新药“只进不出”的历史,实现国产新药出海“零的突破”,也是首个获得FDA授予四项特殊通道认定的中国新药和首个获得中国CSCO指南与美国NCCN临床指南双重推荐的本土研发抗肿瘤新药。2020年12月,百悦泽获批的两个适应症全部纳入国家新版医保目录。目前,百悦泽已经在美国、中国、阿联酋、加拿大获批上市,并已在全球提交超过20项上市申请,覆盖全球超过40个国家/地区。
百泽安已在国内获批用于治疗复发或难治性经典型霍奇金淋巴瘤(R/R cHL)、局部晚期或转移性尿路上皮癌(UC)、一线鳞状非小细胞肺癌,前两项适应症已于2020年12月纳入国家新版医保目录。2021年,百济神州与诺华公司就百泽安在北美、欧洲、日本等多个国家的开发与商业化达成授权合作协议,总交易金额超过22亿美元,创下当时国内单品种药物授权交易金额最高纪录,加速推动百泽安走向全球。
百汇泽是百济神州自主研发的一款PARP1和PARP2抑制剂,是目前已知唯一非药物泵P-gp(P糖蛋白)底物的PARP抑制剂,具有低耐药、高透膜和高捕获性的产品特点。2021年5月,获得国家药监局附条件批准用于治疗既往接受过至少二线化疗、伴有胚系BRCA突变的晚期卵巢癌、输卵管癌或原发性腹膜癌患者,成为中国首款获批用于治疗涵盖铂敏感以及铂耐药复发性伴有胚系BRCA突变的卵巢癌患者PARP抑制剂,也是百济神州第三款获得上市许可的自主研发抗癌新药。
新药研发、生产、商业化是一个投资大、周期长、风险高的过程,公司在药物早期发现、临床前研究、临床开发、监管审查、生产、商业化推广等多个环节持续投入。
招股书显示,2017年至2020年1-9月(报告期),百济神州营业收入分别为16.11亿元、13.10亿元、29.54亿元和14.59亿元,包括药品销售收入以及技术授权和研发服务收入,公司实现归属于母公司股东的净利润分别为-9.82亿元、-47.47亿元、-69.15亿元及-81.04亿元。截至2020年9月30日,公司累计未分配利润为-243.03亿元。
值得注意的是,据公司5月7日发布的业绩报显示,2021年一季度,公司实现收入6.06亿美元,实现净利润0.67亿美元。这也是公司自2018年8月8日港股上市以来,首度在报表中实现盈利。
逾百项全球临床试验进行中
报告期,公司的研发费用分别为20.167亿元、45.97亿元、65.88亿元和66.03亿元,研发费用率分别为125.20%、350.88%、223.03%和452.66%。
公司拥有完整的肿瘤生物学研发体系,建立了包括药物化学、发现生物学、生物药和转换科学在内的临床前研究部门,拥有包括化合物筛选平台、小分子激酶抑制剂优化平台、分析化学研究平台、双(多)特异性抗体发现平台、单B细胞抗体筛选平台和抗体-药物偶联物(ADC)开发平台等多种药物发现技术平台。
公司的研发引擎与生产和临床开发无缝衔接,源源不断地提供新的产品管线。截至2021年1月,公司共拥有研发人员超过2100名,占员工总数超过40%。同时,公司建立了强大的全球临床开发团队。
截至2021年3月,公司在超过35个国家和地区执行超过100项计划中或正在进行的临床试验,包括超过25项III期或潜在注册可用的临床试验,总入组患者及健康受试者超过12000人,其中海外入组超过5700人。此外,公司分别于2017、2019和2021年与全球领先的制药和生物科技公司百时美施贵宝、安进和诺华达成了全球战略合作。
安进、高瓴是重要股东
截至2020年9月30日,公司第一大股东安进持股比例为20.36%。报告期内,公司股权较为分散,公司任何单一股东所持股权或表决权均未超过30%,且直接持有公司5%以上股份的主要股东之间不存在一致行动关系。因此,公司无控股股东和实际控制人。
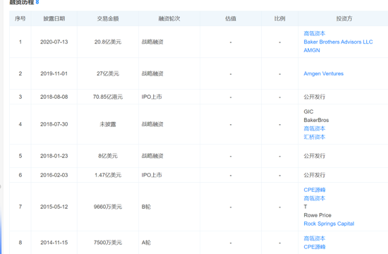
天眼查显示,公司在此次IPO之前,已经完成了9轮融资,高瓴资本参与了多次。

来源:天眼查
招股说明书显示,截至2020年9月30日,高瓴资本及其一致行动人合计共持有公司1.47亿股,占公司已发行股份总数的12.43%。

来源:公司招股说明书